Chúng tôi sẽ trình bày hiệu suất, phương pháp vận hành an toàn và thông số kỹ thuật của thiết bị chuyển mạch trung áp KYN28 - 12

Sử dụng điều kiện môi trường
◆ Nhiệt độ không khí xung quanh: Giới hạn trên 40 ° C giới hạn dưới-10 ° C ở các khu vực chung:
◆ Độ cao: 1000M;
◆ Độ ẩm:
Độ ẩm tương đối: Trung bình hàng ngày không lớn hơn 95%, và trung bình Hàng tháng không lớn hơn 90%;
Áp suất hơi nước: Trung bình hàng ngày không lớn hơn 2,2kpa và trung bình Hàng tháng không lớn hơn 1,8kpa
Sự ngưng tụ có thể xảy ra khi nhiệt độ giảm mạnh, kèm theo bụi bẩn, và sản phẩm này phù hợp với hai điều kiện môi trường khắc nghiệt hơn các điều kiện bình thường sau đây:
(1). Ngưng tụ không thường xuyên (trung bình không quá hai lần một tháng) với bụi bẩn nhẹ;
(2). Nói chung không ngưng tụ (trung bình không quá hai lần một năm) với ô nhiễm nghiêm trọng;
◆ Không có nguy cơ cháy nổ và ô nhiễm nghiêm trọng, đủ để ăn mòn kim loại và vật liệu cách nhiệt thiệt hại và những nơi khắc nghiệt khác;
◆ Không có rung động dữ dội, va đập và độ nghiêng thẳng đứng không quá 80;
Lưu ý: (1) cho phép lưu trữ và vận chuyển ở-30 ° C;
(2) khi độ cao vượt quá 1000m, cần xử lý theo yêu cầu kỹ thuật JB/2102 "đối với các khu vực có độ cao để sử dụng các thiết bị điện cao áp"; khi độ cao không vượt quá 2000m, thiết bị phụ trợ áp suất thấp không cần phải thực hiện bất kỳ biện pháp nào;
(3) khi điều kiện sử dụng thực tế khác với điều kiện trên, cần thương lượng giữa người dùng và nhà sản xuất.
Mô hình và ý nghĩa
K y N 28 - 12/□ - □
──Xếp hạngNgắt dòng điện ngắn mạch (KA.)
──Xếp hạngHiện tại (A.)
──Xếp hạng Điện áp (KV).
└─Số Sê-ri thiết kế
└─Trong nhà
└─Di chuyển loại
──Kim loại Áo giáp
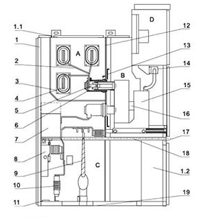
Sơ đồ cấu trúc của thiết bị chuyển mạch
Hình 1

A.. Ngăn ngắt mạch B. Ngăn thanh cái
C. Phòng Cáp D. Phòng nhạc cụ rơ Le
1. Thanh cái 2. Đĩa tiếp xúc tĩnh 3. Bộ Ngắt Mạch
4. Công tắc nối đất 5. Máy biến áp dòng điện
6. Bộ chia điện áp điện dung 7. Thiết bị chống sét
Fig.2 sơ đồ Cấu trúc thiết bị chuyển mạch

1. Vỏ 2. Thanh cái nhỏ nhánh 3. Thanh cái 4. Thanh cái chính
5. Thiết bị tiếp xúc tĩnh 6. Hộp tiếp xúc tĩnh 7. Máy biến áp dòng điện
8. Công tắc nối đất 9. cáp 10. Thiết bị chống sét 11. Xe buýt chính nối đất
12. Tải và phân vùng có thể tháo rời 13. Vách ngăn (nắp) 14. Phích cắm thứ cấp
15. Bộ Ngắt Mạch 16. Thiết bị sưởi 17. Phân vùng nằm ngang có thể chiết xuất
18. Cơ chế hoạt động của công tắc nối đất 19. Tấm đế
A..Phòng busbar B. Bộ Ngắt Mạch Xe đẩy hàng phòng C. Phòng Cáp D. Phòng nhạc cụ rơ Le
1.1. Thiết bị giảm áp 1.2. Kiểm soát thân cây nhỏ
Đáp ứng các tiêu chuẩn
Sản phẩm đạt các tiêu chuẩn sau:
1.IEC-298
2.GB3906-1991
3.DLT404-19974. GB/T11022-1999
Sơ đồ nối dây sơ cấp
| Số sơ đồ | 001 | 002 | 003 | 004 | 005 | |
Sơ đồ lộ trình chính |
| |||||
| Dòng điện định mức (A.). | 630-4000 | |||||
Một thời gian Máy chủ Muốn Điện Dụng cụ Yuan Mặt hàng | Bộ Ngắt Mạch chân không | 1 | 1 | 1 | 1 | 1 |
| LZZBJ9-12 biến áp dòng điện | 2 | 2 | 2 | 3 | 3 | |
| Biến áp rzl/rel | ||||||
| Máy cắt áp lực cao (xrnp □) | ||||||
| Công tắc nối đất (ek6/JN15-12) | 1 | 1 | 1 | |||
| HY5WZ-17 chống sét/45 | 3 | |||||
| sử dụng | Năng lượng tiếp nhận và năng lượng cho ăn | Năng lượng tiếp nhận và năng lượng cho ăn | Năng lượng tiếp nhận và năng lượng cho ăn | Năng lượng tiếp nhận và năng lượng cho ăn | Năng lượng tiếp nhận và năng lượng cho ăn | |
| Số sơ đồ | 006 | 007 | 008 | 009 | 010 | |
Sơ đồ lộ trình chính |
| |||||
| Dòng điện định mức (A.). | 630-4000 | |||||
Một thời gian Máy chủ Muốn Điện Dụng cụ Yuan Mặt hàng | Bộ Ngắt Mạch chân không | 1 | 1 | 1 | 1 | 1 |
| LZZBJ9-12 biến áp dòng điện | 3 | 2 | 2 | 2 | 2 | |
| Biến áp rzl/rel | ||||||
| Máy cắt áp suất cao (xrnp □) | ||||||
| Công tắc nối đất (ek6/JN15-12) | 1 | 1 | 1 | |||
| HY5WZ-17 chống sét/45 | 3 | |||||
| sử dụng | Thức ăn chăn nuôi | Liên hệ (phải) | Liên hệ (phải) | Liên hệ (Trái) | Liên hệ (Trái) | |
| Số sơ đồ | 011 | 012 | 013 | 014 | 015 | |
Sơ đồ lộ trình chính |
| |||||
| Dòng điện định mức (A.). | 630-4000 | |||||
Một thời gian Máy chủ Muốn Điện Dụng cụ Yuan Mặt hàng | Bộ Ngắt Mạch chân không | 1 | 1 | 1 | 1 | 1 |
| LZZBJ9-12 biến áp dòng điện | 3 | 3 | 2 | 2 | 2 | |
| Biến áp rzl/rel | ||||||
| Máy cắt áp lực cao (xrnp □) | ||||||
| Công tắc nối đất (ek6/JN15-12) | 1 | 1 | 1 | |||
| HY5WZ-17 chống sét/45 | 3 | |||||
| sử dụng | Đường dây trên cao (tiếp xúc phải) | Đường dây trên cao (tiếp xúc phải) | Đường vào và ra trên cao | Đường vào và ra trên cao | Đường vào và ra trên cao | |
| Số sơ đồ | 016 | 017 | 018 | 019 | 020 | |
Sơ đồ lộ trình chính |
| |||||
| Dòng điện định mức (A.). | 630-4000 | |||||
Một thời gian Máy chủ Muốn Điện Dụng cụ Yuan Mặt hàng | Bộ Ngắt Mạch chân không | |||||
| LZZBJ9-12 biến áp dòng điện | ||||||
| Biến áp rzl/rel | /3 | 2/ | /3 | 2/ | /2 | |
| Máy cắt áp lực cao (xrnp □) | 3 | 3 | 3 | 3 | 3 | |
| Công tắc nối đất (ek6/JN15-12) | ||||||
| HY5WZ-17 chống sét/45 | 3 | 3 | 3 | |||
| sử dụng | Thiết bị chống sét đo điện áp | Thiết bị chống sét đo điện áp | Thiết bị chống sét đo điện áp | Đo điện áp (liên kết bên trái) | Đo điện áp (liên kết bên phải) | |
| Số sơ đồ | 021 | 022 | 023 | 024 | 025 | |
Sơ đồ lộ trình chính |
| |||||
| Dòng điện định mức (A.). | 630-4000 | |||||
Một thời gian Máy chủ Muốn Điện Dụng cụ Yuan Mặt hàng | Bộ Ngắt Mạch chân không | |||||
| LZZBJ9-12 biến áp dòng điện | 2 | 2 | 3 | 3 | 2 | |
| Biến áp rzl/rel | 2/ | 2/ | 2/ | 2/ | /3 | |
| Máy cắt áp lực cao (xrnp □) | 3 | 3 | 3 | 3 | 3 | |
| Công tắc nối đất (ek6/JN15-12) | ||||||
| HY5WZ-17 chống sét/45 | ||||||
| sử dụng | Khớp nối phải đo lường | Đo khớp nối trái | Đo khớp nối trái | Khớp nối phải đo lường | Đo khớp nối trái | |
| Số sơ đồ | 026 | 027 | 028 | 029 | 030 | |
Sơ đồ lộ trình chính |
| |||||
| Dòng điện định mức (A.). | 630-4000 | |||||
Một thời gian Máy chủ Muốn Điện Dụng cụ Yuan Mặt hàng | Bộ Ngắt Mạch chân không | 1 | ||||
| LZZBJ9-12 biến áp dòng điện | 3 | Tụ điện bm12.7-16-1 3 | ||||
| Biến áp rzl/rel | /3 | Máy biến áp 1 | /4 | /4 | ||
| Máy cắt áp lực cao (xrnp □) | 3 | 3 | (Xrnt) 3 | 3 | 3 | |
| Công tắc nối đất (ek6/JN15-12) | 1 | 1 | 1 | |||
| HY5WZ-17 chống sét/45 | 3 | 3 | 3 | |||
| sử dụng | Đo sáng đến | Tủ biến áp được sử dụng (Chiều rộng tủ được xác định theo kích thước của kích thước thay đổi được sử dụng) | Tủ tụ điện | Thiết bị chống sét đo điện áp | Thiết bị chống sét đo điện áp | |

◆Xe đẩy tay Bộ xương xe đẩy tay được làm bằng các tấm thép mỏng được xử lý bởi các công cụ máy CNC và sau đó được tán đinh và hàn. Theo ứng dụng, xe đẩy tay có thể được chia thành xe đẩy tay cầm Bộ Ngắt Mạch, xe đẩy tay biến áp điện áp, xe đẩy tay cách ly, xe đẩy tay đo sáng và các xe đẩy tay khác có cùng Đặc điểm kỹ thuật, thuận tiện cho việc thay thế lẫn nhau. Xe đẩy tay có vị trí cách ly, vị trí kiểm tra và vị trí làm việc trong tủ, và mỗi vị trí được trang bị một Thiết bị định vị để đảm bảo rằng xe đẩy tay không thể di chuyển ngẫu nhiên khi ở vị trí trên, và Khóa liên động phải được giải phóng khi di chuyển xe đẩy tay. |
|
◆Thanh cái B Xe buýt dẫn từ tủ chuyển đổi này sang Tủ chuyển đổi khác bằng xe buýt nhánh và khay tiếp xúc tĩnh. Xe buýt nhánh phẳng được gắn vào khay tiếp xúc tĩnh và xe buýt chính, mà không cần thêm bất kỳ kẹp hoặc kết nối đột phá nào. Khi người dùng và dự án có nhu cầu đặc biệt, các bu lông nối trên thanh cái có thể được đóng gói bằng cách nhiệt và nắp cuối. Khi thanh cái đi qua vách ngăn thiết bị chuyển mạch, nó được cố định bằng tay áo thanh cái. Nếu có vòng cung lỗi bên trong, nó có thể hạn chế sự lây lan của tai nạn đến tủ liền kề và đảm bảo độ bền cơ học của thanh cái. |
|
◆Phòng Cáp C Máy biến áp dòng điện, công tắc nối đất, Thiết bị chống sét và cáp có thể được lắp đặt trong phòng cáp, và các tấm nhôm có thể tháo rời với khe được chuẩn bị ở dưới cùng của phòng cáp để đảm bảo sự tiện lợi của việc xây dựng tại chỗ. |
|
◆Phòng dụng cụ Rơle D Phòng dụng cụ Rơle được sử dụng để lắp đặt các rơle, dụng cụ, chỉ báo tín hiệu, công tắc vận hành và các bộ phận khác. Ngoài ra, một phòng thanh cái nhỏ có thể được thêm vào đầu phòng dụng cụ theo yêu cầu của người dùng và có thể đặt một chiếc xe buýt điều khiển 16 chiều. |
|
◆Cấu trúc khóa Kết nối giữa cửa giữa và tủ thông qua một cấu trúc khóa, và được trang bị một cơ chế nâng để làm cho cửa giữa thuận tiện hơn để mở, và khi cửa giữa được đóng lại, cường độ kết nối giữa nó và tủ tốt hơn, Giúp tăng cường khả năng chống lại hiệu quả lỗi đốt cháy hồ quang bên trong. |
|
◆Phòng dụng cụ chuyển tiếp D cửa phòng dụng cụ được đóng lại, và phòng dụng cụ ở phía trước. | ◆Thiết bị giảm áp Khi Bộ Ngắt Mạch hoặc thanh điều khiển chính, phòng Cáp có một vòng cung lỗi bên trong, với sự xuất hiện của điện, áp suất không khí bên trong thiết bị chuyển mạch tăng lên, và sau khi đạt đến một áp suất nhất định, Tấm kim loại giải phóng áp lực của thiết bị trên cùng sẽ được tự động mở ra để giải phóng áp suất và khí thải để đảm bảo an toàn cho người vận hành và thiết bị chuyển mạch. |