Chúng tôi sẽ trình bày hiệu suất, phương pháp vận hành an toàn và thông số kỹ thuật của máy biến áp: S / S9\ S / S11\ S / S13 Máy biến áp lỏng đầy

Hướng dẫn sử dụng này được áp dụng cho máy biến áp dầu ngâm hoàn toàn kín được sản xuất bởi công ty chúng tôi, với công suất định mức 3150KV (KV)A KV (KV)A trở xuống và mức điện áp 35KV (KV) trở xuống.
1. Uses and characteristics
Ngoài việc thích hợp cho máy biến áp điện chung , máy biến áp ng âm dầu kín hoàn toàn đặc biệt thích hợp cho hóa dầu , luyện kim , d ệt , công nghiệp nhẹ và các doanh nghiệp , mỏ và khu vực nông thôn có độ ẩm cao và bảo trì không thuận tiện .
S / Sản phẩm này hủy bỏ thiết bị bảo vệ dầu như tủ lưu trữ dầu và bộ hấp thụ độ ẩm để đảm bảo rằng dầu máy biến áp không tiếp xúc với không khí, tất cả các con dấu được niêm phong bằng cao su đặc biệt tuyệt vời, sử dụng phun dầu chân không, trong hoàn cảnh bình thường, máy biến áp có thể được sử dụng liên tục trong 20 năm mà không cần bất kỳ điều trị nào, chi phí bảo trì thấp là tính năng chính của sản phẩm này, và độ tin cậy hoạt động được tăng cường, tuổi thọ dịch vụ được mở rộng.
2. Model description
S / S□-M-□ □
S / S - three phases
□ - Performance Level Code (11, 13, 20)
M – sealed
□ – Rated capacity (kVA)
□ – High Voltage Voltage Level (10kV)
3. Transportation
1. Trong quá trình vận chuyển và lắp đặt, khi nâng máy biến áp, bốn cần cẩu trên bể nhiên liệu nên được sử dụng cùng một lúc để chịu tổng trọng lượng của máy biến áp sau khi lắp ráp cuối cùng của máy biến áp được lấp đầy với lượng dầu máy biến áp. Nếu yêu cầu này không thể đáp ứng được, nên sử dụng máy biến áp nâng chùm đặc biệt.
2. Các bộ phận buộc của sản phẩm này là tất cả các ốc nới lỏng để đảm bảo độ bền đáng tin cậy. Tuy nhiên, trong quá trình vận chuyển, vẫn cần phải đảm bảo rằng máy biến áp có sự ổn định đủ và độ dốc của máy biến áp không nên lớn hơn 15 °. Khi nâng, nó nên được nâng lên và thả nhẹ nhàng, và trong điều kiện không có thiết bị nâng, mặt đất nên di chuyển chậm để ngăn ngừa rung động dữ dội.
4. Acceptance and storage
1. S / Sau khi nhận được máy biến áp, người dùng nên ngay lập tức kiểm tra mô hình sản phẩm và thông số kỹ thuật nhận được theo bảng tên, liệu các thông số kỹ thuật có phù hợp với hợp đồng đặt hàng hay không, và sau đó kiểm tra cẩn thận xem có thiệt hại cho từng phần của máy biến áp hay không, liệu các bộ phận dễ bị tổn thương, chẳng hạn như nhiệt kế tín hiệu, vỏ bọc, vv, có bị hư hỏng hay không, và liệu ống nhiệt kế tín hiệu có bị phẳng và bị hỏng hay không. Cần chú ý đặc biệt đến tính toàn vẹn của tay áo sứ, được đánh giá theo liệu có rò rỉ dầu trong vỏ hay không, và kiểm tra xem có rò rỉ dầu hoặc rò rỉ dầu trong mỗi phần niêm phong của máy biến áp.
2. Nếu máy biến áp không được lắp đặt và đưa vào vận hành ngay lập tức và cần được lưu trữ trong một thời gian dài, tất cả các con dấu nên được niêm phong, phụ tùng nên được lưu trữ đúng cách và tình hình lưu trữ nên được kiểm tra thường xuyên.
5. Installation and maintenance of transformers
1. Installation of transformers
1.1 Người dùng sử dụng xe nâng hoặc các công cụ xử lý khác để vận chuyển máy biến áp trơn tru đến vị trí lắp đặt được chỉ định.
1.2 Cẩn thận không làm hỏng vỏ bọc và các bộ phận mặc khác trong quá trình lắp đặt, và không làm trầy xước bình nhiên liệu hoặc trầy xước màng sơn.
2. Inspection and judgment criteria before the transformer is put into operation
2.1 S / Sau khi máy biến áp điện ngâm dầu hoàn toàn kín được vận chuyển đến người dùng, không cần phải kiểm tra lõi.
2.2 Máy biến áp nên được thử nghiệm theo "Tiêu chuẩn thử nghiệm về việc bàn giao thiết bị điện trong kỹ thuật lắp đặt điện".
2.2.1 Đo điện trở DC của cuộn dây và ống tay áo, và giá trị không nên lớn hơn 2% so với giá trị đo của nhà máy ở cùng nhiệt độ.
2.2.2 Check the changes of all taps and there should be no significant difference compared with the factory data.
2.2.3 Check whether the coupling group designation of the transformer is consistent with the nameplate mark.
2.2.4 Giá trị điện trở cách điện nên gần với giá trị nhà máy ở cùng nhiệt độ và không nên nhỏ hơn giá trị trong Bảng 1.
Table 1 Kháng cách điện value (MΩ)
temperature
| 20 | 30 | 40 | 50 | 60 |
<6 | 400 | 200 | 100 | 50 | 25 |
6 or more but less than 20 | 800 | 400 | 200 | 100 | 50 |
20 or more than 60 | 1000 | 500 | 250 | 125 | 65 |
Mô tả: 1. 1. Các cuộn dây được thử nghiệm được nối đất trong quá trình đo. 2. S / Sử dụng đồng hồ đo megaohm 2500V hoặc đồng hồ đo đặc biệt.
2.2.5 Tần số xây dựng bên ngoài chịu được điện áp thử nghiệm điện áp của cuộn dây và vỏ bọc được hiển thị trong Bảng 2.
Table 2 Experimental standards for insulation power frequency withstand voltage of high-voltage electrical equipment
Điện áp định mức (KV (KV)). | 3 | 6 | 10 | 15 | 20 | 35 |
Factory experimental value | 18 | 25 | 35 | 45 | 55 | 85 |
Handover experimental values | 15 | 21 | 30 | 38 | 47 | 72 |
2.2.6 Các mặt hàng thử nghiệm thông thường của dầu biến áp được kiểm tra theo yêu cầu của dầu mới (trước khi đưa vào vận hành), xem Bảng 3.
Table 3 Experimental items and standards of transformer oil before putting into operation
S / Số serial | Các mục | New oil in the tank before putting into operation |
1 | appearance | Transparent and free of impurities |
2 | Flash point C (sealed) | 140 |
3 | Moisture mg/1 (ppm). | ≤20 |
4 | Acid value mgKOH/g | <0.03 |
5 | Breakdown voltage KV (KV) (2.5mm mm) oil gap | 35KV (KV) and below: ≥35 |
6 | The medium is lost tangentially tangents by 8% (90°C). | ≤0.7 |
7 | Interfacial tension mN/m (25°C). | ≥35 |
8 | Water-soluble acid (PH). | ≥5.4 |
2.2.7 Oil sample collection method
(1) S / Scrub and dry the glass test cup with a diameter of about 80-100mm mm and the syringe barrel of about 100ml.
(2) Unscrew the oil sample valve cover at the bottom of the fuel tank.
(3) Wipe the oil sample valve outlet and vicinity clean with clean paper or cloth.
(4) Align the glass test cup with the valve outlet.
(5)S / Sử dụng một chiếc chìa khóa để từ từ tháo bu lông của van mẫu dầu để cho dầu chảy vào cốc, và đồng thời đặt kim tiêm vào ổ cắm dầu của van mẫu dầu để vẽ mẫu dầu.
(6) The amount of oil sample is determined by the user according to the needs of the experimental project.
(7) When the oil sample is collected, tighten the oil sample valve bolt and valve cover.
(8)Mở nắp ống phun dầu ở phần trên của nắp hộp máy biến áp, và từ từ đổ dầu máy biến áp của cùng một mô hình, cùng trọng lượng, và vượt qua thử nghiệm vào ống phun dầu, và thắt chặt nắp ống phun dầu, và mẫu dầu và quá trình bổ sung dầu được hoàn thành.
3. Maintenance of transformers
3.1 Các tiêu chuẩn bảo trì và kiểm tra của máy biến áp ngâm dầu kín hoàn toàn như sau trong Bảng 4 và Bảng 5.
Table 4 Regular inspection standards
S / Số serial | Inspection items | Inspection essentials | Cycle | Judgment criteria | remark |
1 | Kháng cách điện | Use a 2500V rocking meter or a measuring instrument with the same effect Measure the phase to the ground | Irregular | 35KV (KV) side: 270MΩ 10KV (KV) side: 200M Ω 1KV (KV) side: 50MΩ | After a serious overvoltage or serious accident, this experiment is carried out |
2 | Insulating oil | Chromatographic analysis | 6 years | GB7252-87 "Guidelines for the Analysis and Judgment of Dissolved Gas in Máy biến áp Oil" | After a serious overvoltage or serious accident, this experiment is not limited by the period |
3 | thermometer | 1. Internal spot inspection (rust and moisture absorption) 2. Gask condition 3. Temperature indication, indicating action 4. Temperature rating | 2 years | 1. No rust 2. No damage 3. Indicate normal action (gently tap) 4.85°C | |
4 | Oil level gauge | 1. External inspection 2. Whether the oil surface is full of oil | 1 year | 1. No rust, no oil stains on the glass 2. Whether the oil surface line can be seen | There is no oil level gauge This item will not be inspected |
5 | casing | 1. Terminal status 2. S / Sleeve status 3. Does oil leak? | 2 years | 1. There is no loosening or discoloration 2. There is no damage or defacement 3. No oil leakage or air leakage | If there is any abnormality, it should be dealt with in time |
6 | Grounding wire | Rugged state | 2 years | No loosening, no broken wires | |
7 | pressure release valve | 1. Whether the seal is oily 2. Whether the lead wire connection is firm | 2 years | 1. No oil seepage 2. If there is any abnormality, it should be dealt with in time | If there is leakage Deal with it in a timely manner |
Table 5 Daily inspection standards
S / Số serial | Inspection items | Inspection essentials | Cycle | Judgment criteria | remark |
1 | Body appearance | There is no dirt, cracks or oil seepage | January | There should be no dirt, cracks, oil leakage, etc | If there is any abnormality, it should be dealt with in time |
2 | The sound and odor of the body | Abnormal sounds and smells (hearing, smell) | January | 1. S / Sounds and vibrations caused by excitation are normal 2. Abnormal sounds such as loosening and discharging of the fastening nut of the conductive part 3. The combustion of insulation will have a special odor | If there is any abnormality, investigate the cause and deal with it in a timely manner |
3 | Body temperature | Whether the temperature rise is normal | January | The load current borne by the transformer is related to the temperature rise of the oil surface | If there is any abnormality, investigate the cause and deal with it in a timely manner |
4 | Body oil surface | Whether the oil surface is normal (oil surface table) | January | The oil should be filled with an oil level gauge | If there is no oil level gauge, no spot inspection can be done |
5 | current | Whether the current exceeds the allowable value and whether the three-phase current is balanced (Amm mmeter) | January | The current of each phase is roughly balanced within the rated range | If the imbalance is serious, it should be adjusted in time |
3.2 Oil seepage treatment and oil replenishment method
3.2.1 Nếu dầu rò rỉ ở con dấu, xoắn ốc có thể được thắt chặt bằng một chiếc chìa khóa và các vết dầu có thể được lau khô.
3.2.2 If the sealing material causes oil seepage, the seal should be replaced.
3.2.3 Oil seepage in the weld should be dealt with in time.
3.2.4 After oil seepage treatment, the oil replenishment method is the same as point 8 of 2.2.7.
3.2.4.1 S / Số lượng bổ sung dầu : Trong trường hợp bình thường , lượng dầu chảy ra khỏi b ể là nhỏ , vì vậy lượng dầu bổ sung phải chịu sự đổ đầy dầu trên n ắp b ể , và nhiệt độ dầu và nhiệt độ môi trường xung quanh tại thời điểm đó có thể được bỏ qua .
3.3 Mục đích của việc phun dầu chân không của máy biến áp kín hoàn toàn là loại bỏ khí trong cuộn dây càng nhiều càng tốt trong điều kiện chân không, để dầu máy biến áp có thể lấp đầy các lỗ hổng bên trong cuộn dây và vật liệu cách nhiệt, và cải thiện hiệu suất cách nhiệt và tuổi thọ của máy biến áp. Bởi vì lượng dầu bổ sung do rò rỉ dầu rất nhỏ, nó không ảnh hưởng đến công suất tuyệt đối của cuộn dây.
Hiệu suất cạnh (nhà sản xuất quy định trong quá trình phun dầu chân không: trong điều kiện phun dầu chân không, dầu được tiêm khoảng 100mm mm cách nắp hộp, và sau đó việc phun dầu được dừng lại, nhưng chân không được tiếp tục trong 1 giờ, và sau đó dầu được tiêm từ ống phun dầu từ nắp hộp để làm cho mức dầu tăng lên phía trên của ống phun dầu).
6. Permitted operation mode
1. Rated operation mode
1.1 Máy biến áp nên được trang bị một rơle bảo vệ nhiệt độ, có thể được vận hành theo các thông số kỹ thuật bảng tên trong điều kiện làm mát được chỉ định.
1.2 Nhiệt độ cho phép trong quá trình vận hành của máy biến áp được kiểm tra theo sự gia tăng nhiệt độ dầu trên và giá trị cho phép của sự gia tăng nhiệt độ dầu trên là 55 °C, nhưng nhiệt độ tối đa không được vượt quá 95 °C.Để tránh lão hóa nhanh chóng của dầu biến áp, nhiệt độ dầu trên không nên thường xuyên vượt quá 85 °C.
1.3Điện áp áp dụng của máy biến áp step-up và máy biến áp step-down có thể cao hơn giá trị định mức, nhưng nói chung không quá 5% giá trị định mức, bất kể vòi điện áp nằm ở đâu, nếu áp dụng điện áp chính, nó không vượt quá 5% giá trị điện áp tương ứng của nó, thì mặt thứ cấp của máy biến áp có thể có dòng điện định mức.
2. Allowable overload
2.1 Máy biến áp có thể hoạt động trong tình trạng quá tải bình thường và quá tải tai nạn. Quá tải bình thường có thể được sử dụng thường xuyên, và giá trị cho phép của nó được xác định theo đường cong tải của máy biến áp, trung tâm nhiệt độ của môi trường làm mát và tải của máy biến áp trước khi quá tải. Tải quá tải tai nạn chỉ được phép sử dụng trong các tình huống tai nạn. Ví dụ, nếu một trong một số máy biến áp đang hoạt động bị hư hỏng và không có máy biến áp dự phòng, các máy biến áp còn lại được phép hoạt động theo tình trạng quá tải.
2.2 The allowable value of transformer accident overload shall be specified in the following table:
| The ratio of accident overload to rated load | 1.3 | 1.5 | 1.75 | 2.0 | 3.0 |
Allowable duration of overload (minutes) | 120 | 45 | 20 | 10 | 1.5 |
3. Unbalanced current of the allowable short-circuit current.
3.1 Dòng điện ngắn mạch của máy biến áp không được vượt quá 25 lần dòng điện định mức, và thời gian dòng điện ngắn mạch không được vượt quá giá trị được tính theo công thức sau::
T=900/K seconds, where K is a multiple of the stable short-circuit current to the rated current.
3.2Đối với máy biến áp có cuộn dây được kết nối theo Y, yn0, dòng giữa thường không được vượt quá 25% dòng điện định mức của cuộn dây điện áp thấp (trừ yêu cầu đặc biệt từ người dùng)
Instruction manual for general components of oil-imm mmersed power transformers
1. Overview
Hướng dẫn sử dụng này phù hợp với các thành phần chung của máy biến áp điện được sản xuất bởi nhà máy của chúng tôi, bao gồm vỏ bọc, máy thay đổi vòi, van giải phóng áp suất, nắp mẫu dầu, ghế đo nhiệt độ, bu lông mặt đất và van thoát dầu. Các thành phần tiêu chuẩn khác đi kèm với hướng dẫn sử dụng.
2. Use and maintenance
(1) Instruction manual for transformer bushings of 35 kilovolts and below

Hình 1

Figure 2 Hình 3
1. H ình 1 là v ỏ compos ite , được sử dụng cho điện áp 1 nghìn volt trở xuống , dòng điện là 300 -3 000 A . H ình 2 là một ống tay áo loại c áp , được sử dụng cho điện áp 10 nghìn volt , dòng điện là 50 -300 A . H ình 3 cho thấy một ống tay ren với điện áp 35 k V và dòng điện 35 -6 00 A .
2. Khi máy biến áp rời khỏi nhà máy, vỏ được lắp ráp trên bể dầu máy biến áp và gửi cho người dùng cùng với máy biến áp.
3. If you need to disassemble or replace the porcelain type, it should be carried out in the following way.
(1)Vỏ composite, đầu tiên nâng cơ thể nâng, sau đó loại bỏ chì của phần dưới của vỏ, và cuối cùng tháo tất cả các ốc ốc, tháo vỏ và thay thế vỏ thay thế đã được chà và sấy khô.
(2)Đối với vỏ loại cáp, khi thay thế vỏ, vỏ có thể được thay thế bên ngoài, và ốc khớp nên được tháo vít khi thay thế, và khớp nên được kéo bằng dây đồng hoặc đai sợi để ngăn trượt vào bể dầu, và sau đó tháo ra, nắp sứ, miếng đệm niêm phong và tấm áp lực, vv.
4. When installing the casing on the transformer fuel tank, the following matters should be noted:
(1)Đối với vỏ composite, để kẹp hoàn toàn phần sứ trên nắp hộp của máy biến áp để ngăn chặn rò rỉ dầu, các phần trên và dưới của vỏ phải được thắt chặt để buộc chặt ốc của phần sứ.
(2)Đối với vỏ loại cáp, ốc ốc của vít ép cố định vỏ phải được thắt chặt đều, và sau đó thanh dẫn điện được cố định sau khi vỏ được cài đặt chắc chắn trên bể dầu biến áp.
5. Trong việc sử dụng lâu năm, vỏ bọc nên được chà thường xuyên theo tình hình bụi bẩn để ngăn chặn bề mặt của tay áo sứ bị xả ra.
(2) No excitation tap-changer
Các máy biến áp hoàn toàn kín ba pha ngâm dầu được sản xuất bởi công ty chúng tôi thường được trang bị bộ thay đổi vòi không tải loại WS / SP trên vỏ hộp, để thay đổi bộ thay đổi vòi bên cao áp khi không có điện.
1. Cấu trúc điển hình của WS / SPII1 loại không kích thích trung lập điểm điện áp điều chỉnh tap-changer được hiển thị trong hình 4.
2.Đối với giá trị điện áp được chỉ ra bởi chỉ số kỹ thuật số của quay số thay đổi vòi trong phạm vi điều chỉnh điện áp ± 5%: 1 chỉ ra đầu nối vòi với 5% giá trị điện áp định mức, 2 chỉ ra giá trị điện áp định mức và 3 chỉ ra đầu nối vòi với -5% giá trị điện áp định mức.
3. Khi thay đổi vị trí của bộ thay đổi vòi, vít trên nắp của mục 4 phải được tháo vít và tháo ra, phần định vị xử lý của mục 3 phải được kéo ra khỏi lỗ rãnh, và sau đó mục 2 được xoay đến vị trí vòi cần thiết, và phần định vị xử lý phải được nhúng vào lỗ rãnh tương ứng và được che bằng nắp.
4. Nếu máy thay đổi vòi thường hoạt động ở một vị trí do nhu cầu của máy biến áp, để loại bỏ màng oxit và vết dầu trên phần tiếp xúc và đảm bảo tiếp xúc tốt, bất kể máy biến áp có cần thay đổi điện áp hay không, máy thay đổi vòi phải được xoay ít nhất 10 lần một năm. Nếu không cần phải thay đổi điện áp, nó vẫn sẽ được cố định ở vị trí ban đầu sau khi quay, và vị trí vòi phải được thay đổi và cầu hoặc đồng hồ đo cần được sử dụng để đo đường đi trước khi nó có thể được đưa vào hoạt động.
5. Nếu dầu máy biến áp bị rò rỉ ra khỏi vòi thay đổi, hãy tìm hiểu nơi nó rò rỉ. Nếu dầu rò rỉ từ nắp bể nhiên liệu biến áp và mặt bích thay đổi vòi, ốc phẳng của mục 6 nên được thắt chặt ngay lập tức, và nếu trục và mặt bích rò rỉ dầu, ốc của mục 5 nên được thắt chặt, nhưng nó không nên được thắt chặt quá chặt để tránh tăng quá nhiều mô-men xoay.

Figure 4 WS / SPIII Type 1 tap-changer
Nếu đó là điều chỉnh điện áp trung bình, máy thay đổi vòi không kích thích WPS / S II.1 được sử dụng và phương pháp vận hành và bảo trì của nó về cơ bản giống như trên.Đối với các máy thay đổi vòi không kích thích khác ngoài những điều trên, xin vui lòng tham khảo hướng dẫn thay đổi vòi tương ứng để biết chi tiết.
(3) Pressure release valve
1. S / Sản phẩm Usage and Performance Introduction:
Van giải phóng áp suất (sau đây gọi là van giải phóng) phù hợp cho máy biến áp cách nhiệt lỏng hoặc khí, máy biến áp, máy thay đổi vòi trên tải, công tắc cao áp, tụ điện và các sản phẩm khác để bảo vệ bể nhiên liệu.
Khi một tai nạn xảy ra bên trong máy biến áp hoặc máy thay đổi vòi trên tải, một phần của máy biến áp bị khí hóa, gây ra áp suất bên trong bể máy biến áp tăng nhanh chóng. Nếu bạn không bảo vệ đáng tin cậy, bể có thể bị biến dạng hoặc thậm chí vỡ. Van giải phóng bảo vệ bể máy biến áp khỏi bị hư hỏng. Khi áp suất của bể nhiên liệu đạt đến áp suất làm việc của van giải phóng, van giải phóng sẽ được mở trong vòng 2 mili giây để giải phóng quá áp trong bể nhiên liệu kịp thời.
Một khi van giải phóng được mở, áp suất trong bình nhiên liệu giảm xuống khoảng 53-55% áp suất hoạt động và van giải phóng có thể được đóng một cách đáng tin cậy. Chức năng đặc biệt này của van giải phóng là nhu cầu đặc biệt của đối tượng bảo vệ, có thể bảo vệ bể nhiên liệu một cách hiệu quả khỏi hư hỏng. Khi áp suất trong bể tăng lên một lần nữa và đạt áp suất hoạt động, van giải phóng sẽ hoạt động một lần nữa cho đến khi áp suất trong bể giảm xuống mức bình thường. Khi máy biến áp được bật nguồn, an toàn thứ 11 phải được gỡ bỏ.
Bởi vì van giải phóng có thể được đóng một cách đáng tin cậy sau khi hành động, không khí và nước bên ngoài bể nhiên liệu không thể vào bể nhiên liệu và dầu biến áp sẽ không bị ô nhiễm bởi bầu khí quyển.
2. Model, specifications, and basic parameters
2.1 model
YS / SF□-□ □ □
YS / SF – Pressure Relief Valve Code
□ - S / Số S / Sê-ri thiết kế
□ – Turn on the pressure kPa
□ - the effective caliber of the oil injection mm mm
□ - Alarm signal environmental conditions and locking device*
※: 1. Used for mechanical signal mark "J".
2. For use in humid tropical areas, add "TH" after the "J" mark.
3. If a locking device is used, then add "B" after it.
For example: YS / SF6-35/25JTHB
Đó là, đường kính phun dầu φ25mm mm, áp suất mở là 35kPa, với tín hiệu báo động cơ học, nó được sử dụng cho thiết bị khóa vùng ẩm ướt và nóng, và thiết kế thứ sáu của van giải phóng áp suất.
2.1 S / Specifications and basic parameters are shown in Table 1
3. The structure of the structural pressure release valve is shown in Figure 5.
Table 1 S / Specifications and basic parameters
Effective caliber (mm mm) | Turn on the pressure (kPa) | Open pressure limit deviation (kPa). | Turn off the pressure (kPa) | S / Sealing pressure (kPa) |
φ25 φ50 | 15 | ±5 | 8 | 9 |
25 | 13.5 | 15 | ||
35 | 19 | 21 | ||
55 | 29.5 | 33 |

Fig.5 S / Schematic diagram of the structure of the pressure release valve
4. Use
Chọn một thiết bị van giải phóng với một thiết bị khóa, và pin khóa nên được tháo ra trước khi thiết bị được đưa vào hoạt động, nếu không van không thể được mở.
S / Sau khi hoạt động của van giải phóng áp suất trong quá trình hoạt động, thanh đánh dấu nên được đặt lại sau khi lỗi được tìm thấy để tái sử dụng. Van giải phóng không thể được tháo ra tùy ý trong quá trình cài đặt.
Van giải phóng áp suất có rò rỉ dầu, và các biện pháp nên được thực hiện để giải quyết nó kịp thời, và các lý do chính cho rò rỉ dầu là khoảng như sau::
a. một. Vì một số lý do, áp suất trong bình nhiên liệu quá cao, đã vượt quá áp suất niêm phong của van giải phóng nhưng chưa đạt đến áp suất mở, gây rò rỉ.
B. Một số vòng niêm phong trong van đã bị lão hóa và không hoạt động, và vòng kín không hoạt động nên được thay thế với nhà sản xuất kịp thời.
c. If there is a foreign object on the sealing surface, it can be eliminated in time.
5. Maintenance and overhaul
5.1 Tận dụng cơ hội của mỗi bảo trì mất điện của thiết bị điện để thực hiện bảo trì sau đây của van.
a. Whether the opening action is sensitive.
B. Cho dù vòng niêm phong đã già đi, biến dạng hoặc bị hư hỏng. Nếu bất kỳ bất thường nào được tìm thấy, chúng phải được thay thế kịp thời để tránh rò rỉ dầu hoặc thậm chí lỗi của van giải phóng do lão hóa của vòng cao su.
c. Clear the foreign body in the valve.
d. Whether the parts are rusted, deformed or damaged.
5.2 The user should prepare several release valves in case of replacement during inspection.
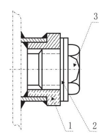
(4) Oil sample flap
Nó thường được lắp đặt theo hướng của phía áp suất thấp của phần dưới của bể nhiên liệu cho các mẫu dầu. Khi sử dụng, trước tiên hãy tháo vít nắp, đặt ống mẫu dầu vào khớp mềm 1: sau đó từ từ xoắn phích cắm cho đến khi dầu có thể được giải phóng khỏi đầu nối và vít nắp sau khi hoàn thành.

Figure 6
(5) Thermometer seat
Để đo nhiệt độ tăng của bề mặt dầu của máy biến áp. Nhiệt kế thủy ngân để đo được cung cấp bởi người sử dụng. Cấu trúc của ghế nhiệt kế được thể hiện trong hình 7.Ổ cắm cảm biến nhiệt độ được lấp đầy bằng dầu biến áp, và khi nhiệt độ bề mặt dầu tăng được đo, chỉ cần mở nắp và chèn nhiệt kế thủy ngân. S / Sau khi đo, lấy nhiệt kế ra và siết chặt nắp lại.

Figure 7
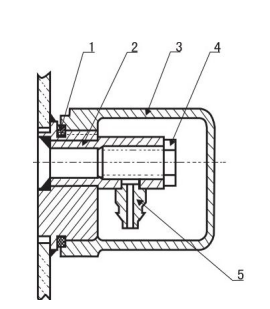
(6) Grounding bolts
Một bu lông nối đất được hàn vào phần dưới của phía điện áp thấp của bể để nối đất tổng thể của máy biến áp. Cấu trúc của nó được hiển thị trong hình 8. Trong máy giặt mục 2, kết nối hộ gia đình được kết nối với thanh nối đất, và bu lông của mục 3 được thắt chặt để đảm bảo hoạt động an toàn của máy biến áp.Để dễ dàng nhận dạng, có một dấu hiệu nối đất.

Figure 8
(7) Oil flap
Van xả dầu được lắp đặt theo hướng của phía điện áp thấp của bể nhiên liệu cho các tai nạn máy biến áp hoặc để làm sạch và xả dầu.

Figure 9

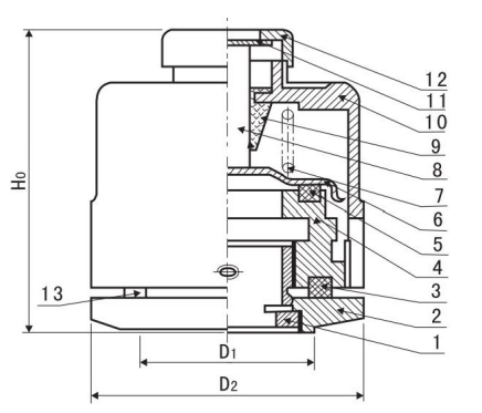
Fully sealed oil-imm mmersed power transformer component
S / Số serial | Code | Name | quantity | Remarks |
11 | tap-changers | 1 | ||
10 | S / Signal thermometer mount | 1 | There are more than 1000KV (KV)A KV (KV)A | |
9 | Mercury thermometer holder | 1 | ||
8 | Ground bolt | 1 | ||
7 | Oil sample flap | 1 | ||
6 | Máy biến áp cabinet | 1 | ||
5 | Gas relays | 1 | There are more than 800KV (KV)A KV (KV)A | |
4 | Low pressure casing | 4 | ||
3 | High pressure casing | 3 | ||
2 | Oil level gauge | 1 | ||
1 | Pressure relief valve | 1 |
----------------------------------------------------------------------------------------------------------S / S9\ S / S11\ S / S13 Máy biến áp lỏng đầy